Naslovna > Nepovratna klapna
Nepovratna klapna
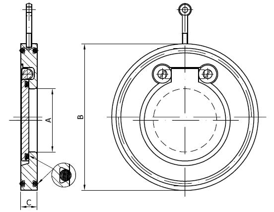
Tehnicki podaci
FEROPLAST NK NEPOVRATNA KLAPNA je nepovratna (odbojna) klapna koja dozvoljava strujanje fluida u cevovodu samo u jednom smeru koji je određen projektom, a sprečava strujanje u suprotnom, nedozvoljenom smeru. Radi automatski, bez pomoćnih uređaja i mehanizama, čim se zaustavi strujanje u određenom smeru, zatvarač (klapna) se spušta na sedište i tako zatvara i sprečava strujanje u suprotnom smeru. Pokretanje zatvarača (klapne) iz otvorenog položaja u zatvoren vrši se usled težine samog zatvarača, a zaptivanje u zatvorenom položaju poboljšava pritisak fluida iz suprotnog smera.
Nepovratna klapna je predviđena za ugradnju između prirubnica sa standardnim merama, neposredno ispod kruga vijaka, čime se obezbeđuje centralni položaj klapne. Prilikom ugradnje nije potrebno postavljanje zaptivača na prirubnice jer su na telu klapne ugrađeni o-prsteni koji služe kao zaptivači spoja. Ugradna dužina (širina) klapne je minimalna tako da ne utiče na dužinu dela cevovoda.
Prilikom ugradnje mora se voditi računa da predviđeni smer strujanja fluida otvara klapnu.
Takođe, treba predvideti na strani otvaranja zatvarača slobodan deo cevovoda u dužini od najmanje jedne veličine DN.
Prednosti konstrukcije:
Telo nepovratne klapne i zatvarač (klapna) su izrađeni mašinskom obradom od konstruktivnog čelika. Spoljnji prečnik klapne odgovara donjem prečniku otvora za vijke standardnih prirubnica. Prečnik zatvarača (klapne) je prilagođen unutrašnjem prečniku standardne cevi sa odgovarajućom debljinom zida. U otvorenom položaju, zbog ekscentričnosti centra zatvarača, klapna stvara minimalni otpor strujanju, a nagib zatvarača omogućuje njegovo sigurno spuštanje u slučaju prekida strujanja. Zaptivni o-prsteni su ugrađeni u upuste oblika lastinog repa što sprečava njihovo ispadanje u toku rada i montaže.
Vijak sa uškom na gornjem delu nepovratne klapne olakšava njenu montažu, a ujedno određuje pravilan položaj ugradnje (vertikalan položaj) pri horizontalnoj ugradnji. Spoljnji prečnik o-prstenova na telu je podešen za svaki standardni prečnik zaptivne površine tipa B za PN 10 i PN 16.
Radni uslovi:
- Montaža: ugradnja između dve standardne prirubnice,
- Nazivne veličine: DN 20 … DN 500,
- Nazivni pritisak: PN 10 i PN 16,
- Temperature: za zaptivač EPDM, -30°C … +140°C,
- Radni fluid: voda, ili drugi fluid koji nije agresivan za ugljenični čelik i EPDM,
- Ugradnja: u horizontalnom cevovodu sa osovinom zatvarača u gornjem položaju, u vertikalnom cevovodu da se zatvarač otvara u smeru protoka.
Ispitivanje:
Svaka nepovratna klapna se završno ispituje prema standardu EN 12266-1, P12 stepen propuštanja A (zaptivenost sedišta).
Materijali:
U osnovnoj izvedbi, telo nepovratne klapne i zatvarač (klapna) su izrađeni od ugljeničnog čelika, osovina zatvarača je od nerđajućeg čelika. Zaptivač na zatvaraču i zaptivači na telu za spoj sa prirubnicama (o-prsteni u profilnom upustu) su izrađeni od elastomera EPDM. Svi metalni delovi su zaštićeni od korozije plastificiranjem, sa debljinom sloja najmanje 250 μm.
Na zahtev:
Svi metalni delovi mogu biti izrađeni od drugih materijala, zaptivači (o-prsteni) mogu biti izrađeni od drugih vrsta elastomera.
Na zahtev
Cena: RSD
