Naslovna > Vazdušni ventil sa velikim otvorom
Vazdušni ventil sa velikim otvorom
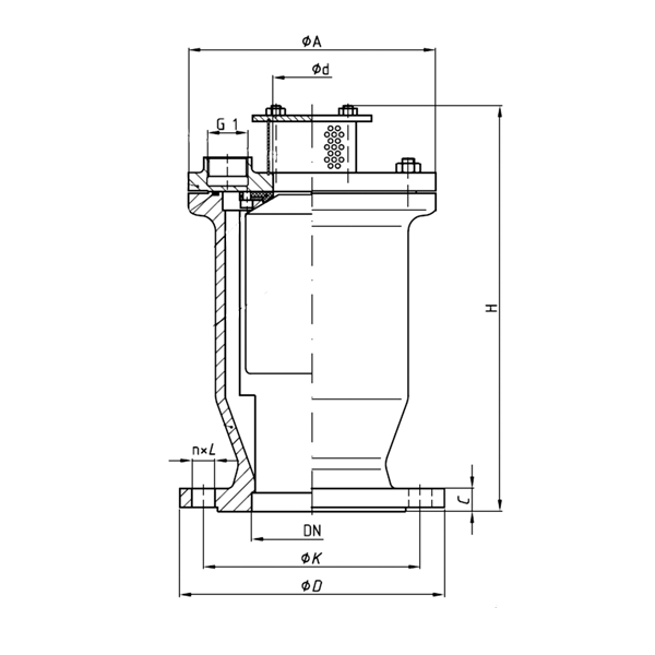
Tehnicki podaci
FEROPLAST VAZDUŠNI VENTIL SA VELIKIM OTVOROM ima primenu u:
- U sistemima cevovoda za snabdevanje vodom, za prenos vode namenjene za ljudsku upotrebu.
- Ventil služi za ispuštanje vazduha velikim protokom prilikom punjenja cevovoda, kao i za ulaz vazduha velikim protokom prilikom pražnjenja cevovoda.
- Konstrukcija i funkcionalnost ventila su usaglašeni sa zahtevima standarda EN 805 za sisteme i standarda EN 1074-4 za vazdušne ventile.
Osnovne karakteristike:
- Ventil je predviđen za vertikalnu ugradnju na posebno izvedenu prirubnicu cevovoda, na mestu koje je predviđeno projektom cevovoda.
- Priključna prirubnica ima mere prema standardu EN 1092-2, za pritisak PN 16, sa zaptivnom površinom tipa B.
- Kućište ventila je liveno od nodularnog liva, materijali osnovni delova dati su u tabeli 1.
- Zatvaranje i otvaranje protoka vazduha obavlja se automatski plovkom koji je vođen vertikalno u kućištu i tačno naleže gornjim delom na sedište.
- Sedište od elastomera je izvedeno sa specifičnim profilom za dobro naleganje plovka i zaptivanje.
- Prečnik izlaznog otvora je odgovarajući za velike protoke vazduha (ulaz, izlaz).
- Prodor stranih čestica u cevovod kroz izlazni otvor sprečen je zaštitnom mrežom koja je sastavljena od žičanog pletiva sa unutrašnje strane i
perforiranog lima sa spoljne strane.
- Na poklopcu ventila je izveden priključak sa unutrašnjim cevnim navojem G 1 za priključak i montažu ventila sa malim otvorom, za ispuštanje
sakupljenog vazduha u toku uobičajenog rada.
- Zaštita svih površina je kvalitetnim premazima prema aktuelnim propisima za određenu primenu.
Ispitivanje:
Završno ispitivanje svakog ventila vrši se u skladu sa standardom EN 1074-4 za proizvodna ispitivanja:
- Otpornost i nepropusnost na unutrašnji pritisak kućišta i svih delova izloženih pritisku vodom, pritiskom 25 bar.
Kriterijum prihvatanja: nema uočljivog spoljnog propuštanja na kućištu u toku delovanja ispitnog pritiska 10 min.
- Ispitivanje zaptivenosti sedišta na veliki pritisak: ispitivanje vodom pritiskom 18 bar.
Kriterijum prihvatanja: stepen A iz EN 12266-1, ne sme biti propuštanja u vremenu od 10 min.
- Ispitivanje zaptivenosti sedišta na mali pritisak: ispitivanje vodom pritiskom 0,5 bar.
Kriterijum prihvatanja: stepen A iz EN 12266-1, ne sme biti propuštanja u vremenu od 10 min
Materijali:
Materijali sastavnih delova u osnovnoj izvedbi dati su u tabeli 1.
Na zahtev:
- Drugi materijali spoljnih delova.
- Drugi materijali zaptivnih elemenata.
- Druge mere priključne prirubnice.
- Posebna zaštita spoljnih površina.

Na zahtev
Cena: RSD
